|
1.はじめに 昭和31年に平島村と今津村が合併してできた那賀川町は、県の東部那賀川河口の北岸に位置し、東は紀伊水道に向かって開かれた平坦な地の町である。同町は、平坦地のため鎮守の森が遠望でき、その地域のランドマーク、陸上の目印となっているが、逆にこの起伏のなさが、鎮守の森特有の参道空間による神域への高まり感を少なくしているように思える。 那賀川に臨んだ中島は、古くから上那賀からの木材の集散地となっていたところで、現在も木工建具製造が盛んである。また、町域は那賀川沖積地の上にあり水田地帯となっており、農耕の歴史は古く、700年代初頭にはすでに稲作が行われていたことが、奈良・平城京の長屋王邸宅跡から出土した木簡※1)により裏付けされている。 私たち郷土建築研究班は、7月27日から8月5日までのうち5日間、那賀川町全域で50の神社と19の寺院・庵(あん)を建築学的見地から実態調査を実施し、建物の構造や建築様式などを一覧表にまとめた。なお、今回の調査では地域的な建築様式の特徴や傾向に主眼を置き、数多くのデータを得ることができたが、時間的な制約から細部についての調査が充分なものではなく、今後の機会に穴埋めしたいと思っている。
※1)阿波国長郡波羅里(現在の那賀郡那賀川町原)から奈良時代の平城京に送られた木簡が、昭和63年の発掘調査中に長屋王の邸宅跡で発見された。表には「阿波国長郡波羅里黒米五斗」と記されており、郡の名が「長郡」から「那賀郡」と二字で表されるようになるのが
713年以降であることから、この木簡が送られた時期は 700年代初頭と見られている。
2.那賀川町の社寺建築一覧


3.那賀川町の社寺案内図

4.5町の社寺建築構造種別表

5.那賀川町の社寺概要 神社建築の数多くのデータを得るため、ほぼ全社に近い50社を調査した。それをまとめたものが表1の調査一覧表である。 旧社格から見ると、合併前の平島村・今津村内に郷社の八幡神社がそれぞれ1社ずつあり、村社では平島村内に9社、今津村内に11社の計20社あり、他は無格社である。 50社の本殿様式は大規模な造りはなく、杉尾神社(No.15)が木造片入母屋妻入り造で、他は石造の祠(ほこら)まですべて流造(ながれづくり)である。また、鞘堂(さやどう)内に納められた本殿は11社、拝殿内に納められたものは15社で総数の半分となり、見世棚造(みせだなづくり)を除き木造流造の本殿が建っているのは八幡神社(八幡・三栗・工地)、八坂神社(江野島)など7社であり、鉄筋コンクリート造は5社ある。鞘堂を兼ねた拝殿も含め拝殿を有するのが39社あるが、簡素な切妻造りが多く、木造拝殿は傷みの進んだものが大半で、鉄筋コンクリート造が半数以上の20社となっている。このコンクリート造の多さは海岸部の地域色と、現在の神社施設の置かれている社会状態をよく表している。 流造様式の整った社は両郷社の八幡神社であり、造営的には三栗の社は四手先出組(よてさきでぐみ)、詰組(つめぐみ)を用いた重厚な禅宗様式である。細部は全社共標準的な造りで、繋海老虹梁(つなぎえびこうりょう)と手挟(たばさみ)を併用した社が八幡神社(No.35)、神明社(No.37)の2社あり、向拝(こうはい)柱頭の斗組(ますぐみ)で送(おく)り斗(と)を置いた連三(つれみ)ツ斗(ど)としたものが、蛭子神社・妙見神社(No.44)、日吉神社(No.7)、金刀比羅神社(No.45)の小社殿に見られた。 那賀川町の神社の内、鳥居のある社は40社で51基の鳥居があり、鳥居の様式では原の皇子神社、三栗の八幡神社で台輪鳥居が見られるほかは、標準的な明神45基、木造4基である。年代の分かる中では、八幡神社の台輪鳥居が享保8年(1723)で最古である。 那賀川町では境内に地神碑が28カ所祭られている。敷地の若宮神社には八角形で笠付きの寛政12年(1800)の碑があり、5祭神の他に「水神」「木神」「山神」の名が刻まれており、三祖神を合体させた珍しい形態をしている。 寺院では、黒地の道浄寺、今津浦の照円寺・信行寺が浄土真宗でほかは真言宗である(表2)。14寺院のうち半数が、昭和56年から平成5年のうちに鉄筋コンクリートに改築されており、今津の信行寺、中島の宝満寺が18世紀中後期の簡素なたたずまいを表しているのみである。

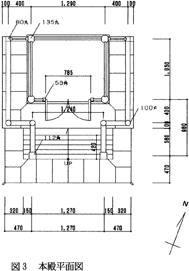
6.那賀川町の各神社 (1)八坂神社(調査一覧表……2) 鎮座地−那賀川町江野島字太田876 [本殿]木造 一間社流造(ながれづくり) 銅板葺 身舎(もや)−円柱 切目長押(きれめなげし) 内法長押(うちのりなげし)出三斗(でみつど) 頭貫木鼻(かしらぬききばな) 妻飾(つまかざり)・虹梁大瓶束笈形付(こうりょうたいへいづかおいがたつき) 中備彫刻蟇股(なかぞなえちょうこくかえるまた) 二軒繁垂木(ふたのきしげたるき) 向拝(こうはい)−角柱 虹梁型頭貫木鼻(こうりょうがたかしらぬききばな) 出三斗(でみつど) 中備彫刻蟇股(なかぞなえちょうこくかえるまた) 繋海老虹梁(つなぎえびこうりょう) 擬宝珠高欄三方切目縁(ぎぼしこうらんさんぽうきれめえん) 脇障子 木階(きざはし)五級(小口階段) 昇擬宝珠高欄(のぼりぎぼしこうらん) 千木(ちぎ)−千木先垂直切 堅魚木(かつおぎ)−3本 (図3、4、5) この社は町北端の海岸近くの江野島という地に位置する。拝殿は鉄筋コンクリート造に改築されているが、本殿は木造総欅(けやき)造りの建物である。 本殿はやや小振りな一間社流造であり、組物は身舎向拝部分とも出三斗を用いている。妻飾は虹梁の上に大瓶束笈形付が載り、虹梁下の頭貫との間には中備彫刻蟇股が付く。また、身舎と向拝の繋ぎには海老虹梁を用いているが、身舎との取り付き位置は頭貫でなく頭貫と内法長押の間である。総体的に見て、木柄が大きくずんぐりした印象を受ける。

 
(2)八幡神社(調査一覧表……14) 鎮座地−那賀川町八幡字石川原32 [本殿]木造 一間社流造 銅板葺 身舎−八角柱 切目長押 内法長押 台輪 二手先詰組彫刻板支輪(ふたてさきつめぐみちょうこくいたしりん) 間斗束(けんとづか) 頭貫木鼻 妻飾・虹梁大瓶束笈形付(板笈形) 中備彫刻 地紋彫 腰組・出組 一軒繁垂木 向拝−角柱 虹梁型頭貫木鼻 出三斗 中備彫刻(龍) 繋海老虹梁 刎高欄三方切目縁(はねこうらんさんぽうきれめえん) 脇障子 木階六級(小口階段) 昇擬宝珠高欄 千木−千木先垂直切 堅魚木−3本 (図6、7、8、9、10、11) この社は旧今津村の郷社で町の中央西方、八幡という地に位置する。拝殿は昭和47年に鉄筋コンクリート造に改築されているが、本殿は木造一間社流造の建物である。 旧新庄十村の産土(うぶすな)神であった当社は、明徳2年(1391)2月、石清水八幡宮の分霊を勧請(かんじょう)したといわれている。棟札は明徳2年、永正9年(1512)、享禄4年(1531)、天文17年(1548)、永禄7年(1564)、元和3年(1617)、寛永7年(1630)、寛文11年(1671)、貞享元年(1684)、元禄14年(1701)と10枚残されている。 本殿の組物は、身舎軒組には二手先を腰組には出組を用い、向拝には出三斗を用いている。この中で軒組は変型な二手先組であり、一番下の肘木(ひじき)が二手先分突き出た納まりになっている。また、正面のみ二手先詰組間に間斗束を入れ正面性を強調している。妻飾は虹梁の上に四角い大瓶束と簡素な板笈形というシンプルな意匠でまとめている。身舎と向拝の繋ぎには海老虹梁を用い、身舎の頭貫と向拝の頭貫とを繋いでいる。向拝組物の肘木は手挟を意識した雲型で、垂木に接するほど盛り上がり手挟を連想させる。 建立年代の推定は難しいが、近代であることには間違いない。総体的に見て、独自の意匠や納まりに匠(たくみ)の技を感じる。
 


 
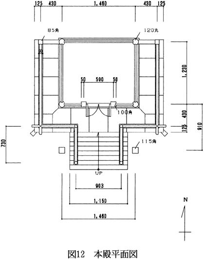
(3)蛭子神社(調査一覧表……20) 鎮座地−那賀川町苅屋字蛭子ノ東220 [本殿]木造 一間社流造 銅板葺 身舎−丸柱 切目長押 内法長押 出三斗 頭貫木鼻 妻飾・虹梁大瓶束 中備彫刻蟇股 二軒繁垂木 向拝−角柱 虹梁型頭貫木鼻 出三斗 中備彫刻(龍) 繋海老虹梁 刎高欄三方切目縁 脇障子 木階八級(小口階段) 昇擬宝珠高欄 千木、堅魚木−なし (図12、13、14) この社は町のほぼ中央、苅屋という地に位置する。拝殿は鉄筋コンクリート造であるが、本殿は木造一間社流造の建物である。 本殿の組物は身舎向拝部分とも出三斗を用いている。妻飾は虹梁の上に大瓶束が載るが笈形はない。虹梁下の頭貫との間には中備彫刻蟇股が付く。また、身舎と向拝の繋ぎには海老虹梁を用い、身舎とは頭貫に取り付き、向拝には丸桁(がぎょう)に取り付く。総体的に見て、組物や装飾の少ない、おとなしい造りに仕上げられている。

 
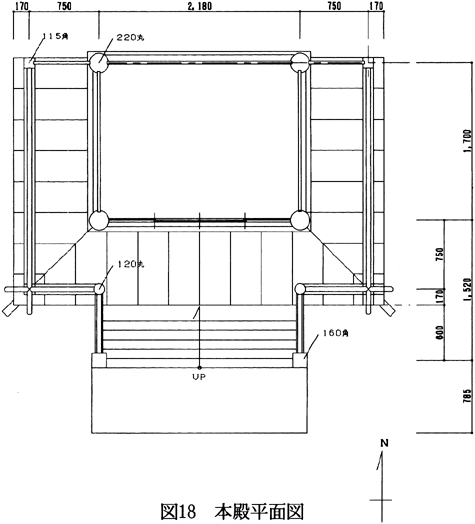
(4)八幡神社(調査一覧表……35) 鎮座地−那賀川町三栗字堤下197 [本殿]木造 一間社流造 銅板葺 身舎−円柱 切目長押 内法長押 台輪 四手先詰組(よてさきつめぐみ) 尾垂木(おだるき) 頭貫木鼻 妻飾・二重虹梁大瓶束笈形付 腰組・出組通肘木(でぐみとおしひじき) 二軒繁垂木 向拝−角柱 虹梁型頭貫木鼻 重出三斗(かさねでみつど) 中備彫刻蟇股 繋海老虹梁 手挟(たばさみ) 刎高欄三方切目縁 脇障子 木階五級(小口階段) 昇擬宝珠高欄 千木−千木先垂直切 堅魚木−4本 (図16、17、18、19、20、21) この社は旧平島村の郷社で町の中央南方、三栗という地に位置する。拝殿は明治百年事業で鉄筋コンクリート造に改築されているが、本殿は木造一間社流造の建物である。 本殿の身舎軒組には二手先から四手先目を尾垂木を用いた四手先詰組で構成し、禅宗様の寺院建築を思わせる華麗な意匠に仕上げられている。また、妻飾の二重虹梁も出組を用い一手先分持ち出し、大瓶束笈形付が載る。切目縁の腰組は出組で、通肘木の上に斗(と)を充填(じゅうてん)し縁葛(えんかずら)を受ける。向拝の組物は重出三斗を用い、その上に手挟が付く。身舎と向拝の繋ぎには海老虹梁を用い、身舎の頭貫と向拝の頭貫とを繋いでいる。 旧郷社にふさわしく組物を多用した重厚な造りの本殿は、町内では注目すべき一社に数えられる。
 
 

 
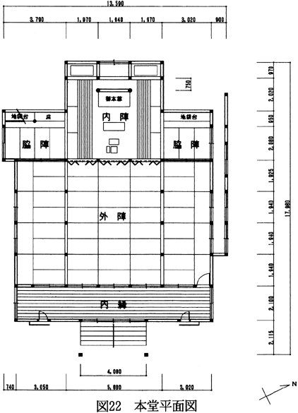
7.那賀川町の各寺院 (1)信行寺(調査一覧表……J) 所在地−那賀川町今津浦字免許80 山号−至心山 宗派−浄土真宗・西本願寺派 [本堂]木造 入母屋造(いりもやづくり) 向拝縋破風(こうはいすがるはふう) 本瓦葺 主屋−角柱 内法長押 舟肘木 向拝−角柱 虹梁型頭貫木鼻 出三斗 中備大瓶束笈形 手挟 一軒疎垂木(ひとのきまばらだるき) (図2、22、23) この寺院は町のほぼ中央、今津浦という地に位置する。町内の多くの寺院本堂が鉄筋コンクリート造に改築される中で、往時の雄姿をとどめた本格的な木造建築である。入母屋造平入りに縋破風の向拝を付けた照り屋根は、間口六間に対して奥行八間と奥行が深いこともあって、実際よりも高くそびえて見える。正面左手の幅木部分には、「宝暦二年(1752)九世
玄浄代再建、昭和五十六年(1981)十六世 文彰代修復、大工棟梁 豊栖
貢」と記された御影石の定礎がはめ込まれており、現本堂の建立年代を知ることができる。 向拝は角柱上に出三斗の組物を置き、主屋との繋ぎには手挟を用いている。虹梁の中備には蟇股でなく大瓶束笈形で飾る。主屋外部の組物は舟肘木のみでシンプルにまとめられている。内部外陣は昭和56年に修復したところであり、格(ごう)天井であるが組物は一切なく、一般住宅の造りと何ら変わるところがない。一方、内陣は格天井で柱上に出三斗の組物を置き、柱や虹梁、木鼻、組物に極彩色を施し華麗に仕上げられている。 町内では18世紀後期建立(推定)の宝満寺本堂と共に、数少ない近世寺院の本堂として貴重な建物になっている。
 
(2)神応寺(調査一覧表……F) 所在地−那賀川町八幡字石川原49-2 山号−寶池山 宗派−真言宗・高野派 [山門]八脚門 木造 入母屋造 本瓦葺 角柱 頭貫木鼻 中備彫刻蟇股 中央間飛貫(ちゅうおうかんひぬき) 大斗肘木(だいとひじき) 一軒半繁垂木(ひとのきはんしげだるき) 台輪 扉構 花頭窓 壁竪羽目板張 鏡天井 (図24、25、26、27) この寺院は町の中央西方、八幡という地に位置する。本堂は平成4年、鉄筋コンクリート造に改築されたが、山門は往時の雄姿をとどめたやや小振りな木造建築である。建築様式としては入母屋造平入りの八脚門で、正面両脇に花頭窓が付く。外壁は杉の竪羽目板張で、中央間天井は鏡天井である。組物は中央間のみ詰組とした大斗肘木で、正面飛貫の中備には彫刻蟇股を飾る。 また、この門は背面両脇にも石像(向かって右に子安地蔵大士、左に青面金剛)を安置しており、両面使いになっている。棟札は確認できなかったが、住職の話では18世紀後期の建立という。
 
 
【参考及び引用文献】 『村史平島』平島村役場発行 大正12年6月15日 『今津村史』今津村役場発行 昭和5年1月1日 『徳島県神社誌』徳島県神社庁教化委員会編 徳島県神社庁発行 昭和56年1月1日 『徳島県の近世社寺建築(近世社寺建築緊急調査報告書)』徳島県教育委員会発行 平成2年3月 『総合学術調査報告 松茂町(郷土研究発表会紀要
第37号)』阿波学会編 徳島県立図書館発行 平成3年3月20日 『総合学術調査報告 半田町(郷土研究発表会紀要
第38号)』阿波学会編 徳島県立図書館発行 平成4年3月20日 『総合学術調査報告 三好町(郷土研究発表会紀要
第39号)』阿波学会編 徳島県立図書館発行 平成5年3月20日 『総合学術調査報告 由岐町(阿波学会紀要
第40号)』阿波学会編 徳島県立図書館発行 平成6年3月20日
1)Y.M.設計室 2)A+U森兼設計室 3)富田建築設計室 4)龍野建設設計室事務所 5)那須建築工房 6)真建築都市研究室 7)富田建築設計室 |